Начинаем новую неделю с очередных экспонатов виртуального музея советской бытовой техники. Сегодня это два девайса. Попробуйте угадать, что это-за устройтсва по фото:


Это слуховой аппарат.

В СССР слуховых аппаратов выпускалось некоторое количество. Напомню, что современный слуховой аппарат это не просто устройство, которое делает погромче, а искажает звук так, чтобы скомпенсировать недуг, поэтому слуховой аппарат подбирается врачом. Но более полувека назад, ограничения элементной базы не позволяли всей современной роскоши в обработке сигналов, что есть сегодня, поэтому если эта небольшая коробочка просто сможет сделать звук громче и проработать от батареи хотя бы день - уже шаг вперед.

Все настройки под крышкой батарейного отсека. Использовались два источника питания - "таблетки", скорее всего это были аккумуляторы. Заглянем внутрь, вы же этого ждете:


Микрофон



А вот еще одна модель: Кристалл, БК-1
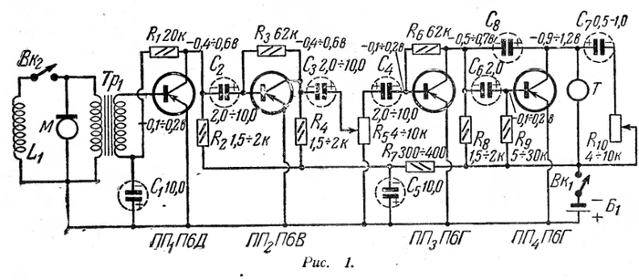
Слуховой аппарат "Кристалл" выпускался с 1956 года Московским заводом слуховых аппаратов. Предназначен для компенсации потерь слуха по воздушной или костной звукопроводимости. Питание от 1-го элемента типа А. Максимальное акустическое усиление 55 дБ. Потребляемая мощность 10 мВт. Габариты 59х82х19 мм. Масса 125 г.

Внутри:








Схема:

Телеграм канал в профиле, если кому удобнее следить там.
Больше интересных статей здесь: Гаджеты.
Источник статьи: Ретропонедельник №224. АК-3 и БК-1.